Instalacje centralnego ogrzewania należy chronić przed przekroczeniem dopuszczalnego ciśnienia i przed wahaniami objętości wody. Zabezpieczeniem przed nadmiernym wzrostem ciśnienia w instalacji jest zawór bezpieczeństwa instalowany z reguły na kotle. Zabezpieczeniem przed wahaniem objętości wody w instalacji wywołanym zmianami temperatury wody jest naczynie wzbiorcze, które w zależności od typu instalacji może być:
– systemu otwartego (bezciśnieniowe)
– systemu zamkniętego (ciśnieniowe)
14.1 Dobór naczynia systemu otwartego
Dla systemu otwartego dobór naczynia wzbiorczego reguluje norma PN-B-02413:1991. W skład systemu wchodzą:
– naczynie wzbiorcze otwarte (bezciśnieniowy zbiornik przejmujący zmiany objętości wody)
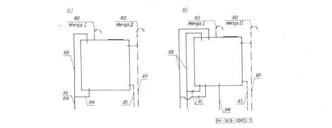
– rury zabezpieczające (RW – rura wzbiorcza, RB – rura bezpieczeństwa)
– RP- rura przelewowa i RS – rura sygnalizacyjna
– RO – rura odpowietrzająca
Pojemność użytkowa naczynia wzbiorczego- przestrzeń pomiędzy poziomą płaszczyzną przechodząca przez najniższy punkt wlotu do rury przelewowej i pozioma płaszczyzną przechodzącą przez najniższy punkt wlotu do rury sygnalizacyjnej, a w przypadku jej braku do rury wzbiorczej.
Pojemność użytkową naczynia oblicza sie ze wzoru:
Vu = 1,1 · V · ρ1 ·Δν
gdzie:
V – pojemność instalacji ogrzewania (żródła, przewodów, grzejników)
ρ1 – gęstość wody instalacyjnej w temperaturze początkowej (napełniania)
Δν – zmiana objętości właściwej czynnika grzewczego przy podgrzaniu od temp. początkowej do średniej temperatury obliczeniowej tm=(tz+ tp)/2
Rys. Sposób montażu naczynia wzbiorczego przy rozdziale a) górnym, b) dolnym


Naczynie wzbiorcze należy umieszczać na odpowiedniej wysokości, która wynosi :
– H> 0,3 m w instalacjach pompowych z pompami na zasilaniu
– H> 0,7 Hp w instalacjach z pompami na powrocie o wysokości podnoszenia Hp
Dobór średnic rury bezpieczeństwa
Wewnętrzną średnicę rury bezpieczeństwa RB można obliczyć ze wzoru:

gdzie Q – moc kotła w [kW]
Tak obliczona średnica nie może byc mniejsza niż 25 mm
Dobór średnicy rury wzbiorczej

Gdzie Qzr – moc źródła ciepła w [kW], lecz nie mniej niż 25 mm
Tabela 2 Dobór średnicy rury bezpieczeństwa i wzbiorczej na podstawie mocy źródła ciepła


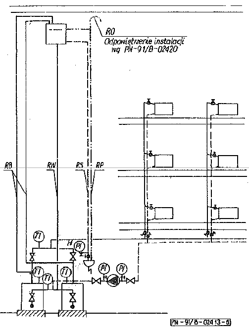
Rys. Schemat podłączenia naczynia wzbiorczego w instalacji a) z jednym kotłem, b) z dwoma kotłami
Zasady montażu rur bezpieczeństwa
RB i RW na całej swej długości powinny być prowadzone bez zasyfonowań, ze spadkiem co
najmniej 1% w kierunku kotła lub wymiennika ciepła. Zmiany kierunku tylko za pomocą łuków
Układ połączeń rur zabezpieczających. RB powinna łączyć najwyżej położoną część
przestrzeni wodnej kotła z przestrzenią powietrzną NW powyżej rury przelewowej.
W przypadku jednego kotła RB na odcinku od kotła do połączenia z dolną częścią przestrzeni
wodnej NW może być jednocześnie rurą wzbiorczą.
W przypadku dwóch lub więcej kotłów lub wymienników ciepła, każdy kocioł lub wymiennik
powinien być zabezpieczony samodzielną rurą bezpieczeństwa, a rura wzbiorcza powinna łączyć
zbiorczą rurę powrotną znajdującą się bezpośrednio przy kotłach lub wymiennikach ciepła z dolną częścią przestrzeni wodnej naczynia wzbiorczego. Przy rozdziale górnym pion wznośny może spełniać rolę odcinka rury bezpieczeństwa i rury wzbiorczej. Przy rozdziale dolnym, jeżeli źródło ciepła ma moc
mniejszą niż 25 kW, część instalacji wewnętrznej ogrzewania wodnego może być użyta jako rury
zabezpieczające.

Rys. Schemat podłączenia dwóch kotłów do naczynia wzbiorczego.
Rura przelewowa. Wewnętrzna średnica rury przelewowej nie powinna być mniejsza niż
wewnętrzna średnica rury wzbiorczej i rury bezpieczeństwa. Rura przelewowa powinna być
wyprowadzona nad zlew lub kratkę kanalizacyjną w pomieszczeniu kotłowni lub
węzła cieplnego w taki sposób, aby wypływ z niej wody mógł być kontrolowany z miejsca
obsługi i miejsca napełniania instalacji ogrzewania. Rury tej nie wolno łączyć
bezpośrednio z kanalizacją ani wyprowadzać na zewnątrz budynku
Rura odpowietrzająca. Wewnętrzna średnica rury odpowietrzającej powinna wynosić co
najmniej 15 mm oraz nie powinna być mniejsza niż średnica rury odpowietrzającej
instalację, doprowadzonej do naczynia wzbiorczego. Rura odpowietrzająca może
być połączona bezpośrednio do naczynia wzbiorczego lub do rury przelewowej
Zabezpieczenie przepustowości rur. Na rurach: bezpieczeństwa, wzbiorczej, przelewowej i odpowietrzającej nie można umieszczać armatury umożliwiającej całkowite lub częściowe zamknięcie
przepływu, ani urządzeń i armatury zmniejszających pole ich przekroju wewnętrznego.
14.2 Dobór naczyń systemu zamkniętego
Ustalenie wielkości naczynia wzbiorczego w instalacji grzewczej regulowała do niedawna norma polska PN-B–02414:1999 „Ogrzewnictwo i ciepłownictwo – Zabezpieczenie instalacji ogrzewań wodnych systemu zamkniętego z naczyniami wzbiorczymi przeponowymi – Wymagania”. Norma ta została zmieniona przez normę europejską PN EN 12828 „Instalacje ogrzewcze w budynkach. Projektowanie wodnych instalacji centralnego ogrzewania”. Nowa norma reguluje całokształt projektowania instalacji centralnego ogrzewania, łącznie z zabezpieczeniem, o maksymalnej temperaturze pracy do 105°C. Norma traktuje jednak problematykę obliczania naczynia wzbiorczego w załączniku D informacyjnie, odwołując się do uregulowań miejscowych. Zasadnicze różnice między tymi normami polegają na uwzględnieniu przez normę europejską minimalnej rezerwy wody na nieprzewidziane ubytki, co skutkuje większą pojemnością całkowitą naczynia oraz na przyjęciu w normie europejskiej ciśnienia wstępnego w naczyniu większego o 0,3 bara powyżej ciśnienia statycznego, wobec 0,2 bara w normie polskiej. Projektanci instalacji powinni zwrócić uwagę, że 31 maja 2013 roku wydano aktualizuję ww. normy. PN-EN 12828:2013 Instalacje ogrzewcze w budynkach — Projektowanie wodnych instalacji centralnego ogrzewania, która znosi normę z 2006 roku i jest aktualnie obowiązująca.
Poniżej, dla potrzeb projektowania uczniów technikum omówiono główne założenia normy PN-B–02414:1999.
W skład systemu wchodzą:
-Naczynie wzbiorcze
-Rura wzbiorcza
-Zawór bezpieczeństwa
-Manometry (rura wzbiorcza, kocioł)
-Zawór obsługowy – warunkowo
-Czujnik poziomu wody w kotłach – warunkowo (kotłownia >100 kW)
Zadania systemu:
-Przejmowanie wahań objętości wody (NW, RW)
-Utrzymanie odpowiedniego ciśnienia w instalacji (NW, RW)
Zabezpieczenie przed nadmiernym wzrostem ciśnienia (ZB)
-Częściowe uzupełnienie ubytków wody w instalacji (NW) – warunkowo
Schematy montażowe

Rys.1.3 Naczynie przeponowe przed pompą na powrocie instalacji.

Rys.1.4 Naczynie wzbiorcze za pompą na powrocie instalacji.

Rys.1.5 Naczynie wzbiorcze na powrocie instalacji c.o. , pompa na zasileniu.
a) Ciśnienie wstępne w naczyniu wzbiorczym przeponowym
Ciśnienie wstępne w naczyniu wzbiorczym przeponowym, włączonym po stronie ssawnej pompy obiegowej, należy przyjmować nie mniejsze niż:
[1]
gdzie: p st – ciśnienie hydrostatyczne [bar], w instalacji ogrzewania wodnego na poziomie króćca przyłączonego do rury wzbiorczej do naczynia, gdy temperatura wody instalacyjnej wynosi t1 = 10 [°C]
Ciśnienie wstępne w naczyniu wzbiorczym przeponowym, włączonym po stronie tłocznej pompy obiegowej, należy przyjmować nie mniejsze niż ciśnienie obliczone według powyższego wzoru, powiększone o wysokość ciśnienia podnoszenia pompy. Zobacz też tabela poniżej:
Tabela 3 Wartości ciśnienia wstępnego, ciśnienia maksymalnego i ciśnienia otwarcia zaworu bezpieczeństwa w zależności od sposobu podłączenia naczynia wzbiorczego (zob. Rys. 1.3, 1.4, 1.5)


gdzie:
hn – różnica wysokości między najwyższym punktem instalacji a punktem podłączenia naczynia wzbiorczego, [m]
ρ1 – gęstość wody instalacyjnej w temperaturze początkowej t1, [kg/m3]; temperaturę początkową należy przyjmować t1 = 10oC
g – przyspieszenie ziemskie 9,81 m/s2
Przykład: Statyczne ciśnienie instalacji c.o. – 2,7 bar. Ciśnienie wstępne w naczyniu – 2,9 bar. Zawór bezpieczeństwa powinien być tak nastawiony, aby ciśnienie początku otwarcia było równe lub niższe dopuszczalnemu ciśnieniu w naczyniu wzbiorczym, z uwzględnieniem różnicy poziomów między naczyniem wzbiorczym i zaworem bezpieczeństwa, a ciśnienie zamknięcia nie było mniejsze niż 80% ciśnienia początku otwarcia. Zawór bezpieczeństwa powinien być zaplombowany. Instalacja powinna być napełniona zimną wodą do ciśnienia 0,1 bar wyższego od ciśnienia wstępnego, w powyższym przykładzie do 3,0 bar. Po spełnieniu wyżej wymienionych warunków instalacja gotowa jest do pracy.
b) Maksymalne obliczeniowe ciśnienie w naczyniu wzbiorczym przeponowym
Należy przyjmować to ciśnienie nie większe niż ciśnienie dopuszczalne instalacji wg PN-90/B-01430 z uwzględnieniem różnicy rzędnych między najniższym punktem instalacji ogrzewania a króćcem przyłącznym rury wzbiorczej do naczynia.
Jednocześnie ciśnienie to nie może być większe od ciśnienia dopuszczalnego określanego przez producenta naczynia. Poza tym zaleca się, aby ciśnienie to nie było większe od ciśnienia wstępnego pracy instalacji o więcej niż 2 bary.
V – pojemność instalacji ogrzewania wodnego [m3], w skład instalacji wchodzą: źródło ciepła (kocioł lub wymienniki ciepła), przewody z armaturą, grzejniki itp. (zgodnie z PN-B-01430:1990);
ρ1 – gęstość wody instalacyjnej w temperaturze początkowej t1 = 10 °C [kg/m3] (gęstość wody należy przyjmować = 999,7 [kg/m3],
Δν – przyrost objętości właściwej wody instalacyjnej w [dm3/kg], podczas jej ogrzania od temperatury początkowej t1 do obliczeniowej temperatury wody instalacyjnej na zasilaniu tz. Wartości liczbowe Δν w funkcji temperatury na zasilaniu tz podane są w tabeli A.1 normy PN-B-02414:1999.
Pojemność użytkowa naczynia wzbiorczego powiększona o rezerwę na ubytki eksploatacyjne wody oblicza się ze wzoru:

gdzie:
Vu, V – jak we wzorze powyżej
E- ubytki eksploatacyjne wody instalacyjnej występujące między uzupełnieniami, wartość podawana w %; przyjmuje się 1.0 % (uwaga! – do wzoru wpisujemy 1% jako 0,01)
Pojemność całkowita naczynia przeponowego:
Minimalną pojemność całkowitą naczynia wzbiorczego z hermetyczną przestrzenią gazową Vn[dm3], należy obliczać ze wzoru:
[3]
gdzie:
Vu – pojemność użytkowa naczynia wzbiorczego, obliczona według wzoru [1] [dm3],
pmax – maksymalne obliczeniowe ciśnienie w naczyniu wzbiorczym, [bar],
p – ciśnienie wstępne w naczyniu wzbiorczym, [bar].
Wartość ciśnienia występującego we wzorach (1) i (3) jest ciśnieniem manometrycznym (nadciśnienie).
Pojemność użytkowa ma decydujące znaczenie w prawidłowym doborze naczynia. Przejmuje ona rezerwę z tytułu ubytków wody oraz wzrost objętości wody grzejnej w instalacji pod wpływem wzrostu temperatury.
Przekształcając wzór (3) otrzymujemy wzór na pojemność użytkową naczynia wzbiorczego z hermetyczną przestrzenią gazową Vu, [dm3], należy ją obliczać ze wzoru:
VU – pojemność użytkowa naczynia wzbiorczego, [dm3],
VN – pojemność całkowita rzeczywista naczynia z hermetyczną przestrzenią gazową, [dm3],
pmax – maksymalne obliczeniowe ciśnienie w naczyniu wzbiorczym, [bar],
p – ciśnienie wstępne w naczyniu wzbiorczym, [bar].
Przy stosowaniu naczyń przeponowych o dopuszczalnym nadciśnieniu 3 bar stosuje się zawory bezpieczeństwa o ciśnieniu (manometrycznym) zadziałania (otwarcia) 2,5 lub 3 bar. Maksymalne obliczeniowe ciśnienie w naczyniu przyjmuje się o 0,5 bar niższe od ciśnienia zadziałania zaworu bezpieczeństwa, dla przykładowych wartości 2 albo 2,5 bar.
Pojemność całkowita naczynia wzbiorczego z uwzględnieniem rezerwy na ubytki eksploatacyjne wody :

gdzie:
Vur, pmax – jak we wzorach powyżej
pR – ciśnienie wstępne w przestrzeni gazowej naczynia wyznaczane ze wzoru:

Rura wzbiorcza
Wewnętrzna średnica rury wzbiorczej d, [mm], powinna wynosić co najmniej,
Vu – pojemność użytkowa naczynia, m3, Obliczona średnica nie może być mniejsza niż 20 mm




Konstrukcja naczyń ER z lewej i ERE z prawej.